pohon AR / BLITZ s ramenem pro křídlo do 3 m s tlustým pilířem, 24V
samosvorný pohon AR / BLITZ s odblokováním a zalamovacím ramenem pro aplikace s tlustými pilíři, 24V, pro křídla do max. šířky 3 m a hmotnosti 800 kg; pant-hrana max 320 mm.




Samosvorný motor 24V řady AR (dříve BLITZ) s kloubovým ramenem pro křídlo brány do 3 m pro pant - hranu do 320 mm. Univerzální verze pro pravé i levé křídlo ve verzi 24 V pro intenzivní provoz. Motor je vybaven vnitřní odblokovací pákou, zabudovaným dvojitým elektrickým koncovým spínačem a rozběhovým kondenzátorem. Možnost externího odblokování při výpadku el. proudu. Kloubové rameno s ochranou proti střižnému namáhání. Odblokovací prostor s individuálně přizpůsobeným klíčem.
Aktuálně probíhá rebranding značky - V2 se v rámci holdingové skupiny Nice mění na ABLE.
Technické parametry
| Produktová data | Model | AR MEDIUM 3000 24 | AR MEDIUM 3000 230 |
| Kód | 22Y021 | 22Y020 | |
| Hmotnost (kg) | 14,6 | 14,6 | |
| Maximální hmotnost křídla (kg) | 800 | 800 | |
| Stupeň krytí (IP) | IP 44 | IP 44 | |
| Provozní teplota (°C) | −30 až +60 | −30 až +60 | |
| Elektrické údaje | Napájení (V~ / Hz) | 24 | 230 / 50–60 |
| Maximální elektrický příkon (W) | 240 | 575 | |
| Mechanické údaje | Rychlost vrat (ot./min) | 1,4 | 1,6 |
| Maximální tah (Nm) | 320 | 340 | |
| Pracovní cyklus (cyklů/hod) | 100 | 29 |

Vše, co byste o motorech měli vědět:
Instalace motorů je omezena max. šířkou každého křídla 3 m a max. váhou křídla 800 kg. Více vyčtete z grafu výše.
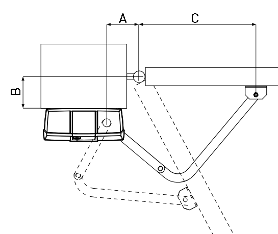
Maximální vzdálenost B může být až 320 mm

AR jsou spolehlivé a tiché motory.
Pohodlné zapojení: elektrické připojení kabelem k elektronice je umístěno pod krytem seshora motoru, protože v naprosté většině dochází k umístění motorů na křídla do jejich spodní poloviny. Proč by motor měl být jen pěkný a nemohl být současně i praktický. Není nad to, když si designér vyzkouší svůj výtvor namontovat.
V případě nepředvídatelných problémů, jakožto i výpadku elektrického proudu, je každý z pohonů vybaven uzamykatelným odblokováním, které umožní křídla brány otevřít manuálně.
Doplňkové parametry
| Kategorie: | Pohony |
|---|---|
| Hmotnost: | 16.6 kg |
| EAN: | NULL |
Hodnocení produktu
Buďte první, kdo napíše příspěvek k této položce.
Diskuze
Buďte první, kdo napíše příspěvek k této položce.
Pouze registrovaní uživatelé mohou vkládat příspěvky. Prosím přihlaste se nebo se registrujte.

